JH8CHUのホームページ>
トランジスタ・パルス回路の解析
>カレント・スイッチの解析
カレント・スイッチの解析
本ページ作成。(2025/09/26)
回路の機能
一種の比較器です。
ふたつあるトランジスタのベース端子のうち、一方を入力端子とし、
他方を参照電圧の設定に使います。入力端子の電圧が、参照電圧を横切るとき、
ふたつあるトランジスタの片方がON、他方がOFFに切り替わることから
カレント・スイッチと呼ばれる回路で、電流切換え形回路と呼ばれることも
あるようです。回路構成をみると
差動増幅回路に似ていますが、
実は差動増幅回路と同じものです。
回路図
回路の動作原理
差動増幅回路なので
入力信号と参照電圧との差が小さいときは普通の増幅回路
として動作します。エミッタの抵抗REは近似的な定電流源となるので
入力信号と参照電圧との差が大きくなり一方のトランジスタのエミッタ電流が
増加して定電流源の電流と等しくなると、他方のトランジスタのエミッタ電流は
ほぼ0となります。このとき、エミッタ電流が0のトランジスタは遮断状態(OFF状態)ですが、
他方のON状態側のトランジスタはコレクタ〜エミッタ間電圧(VCE)が0に
なるわけではないので飽和状態ではなく能動状態になります。
このため、カレント・スイッチは高速にON/OFFすることが出来ます。

切換えの特性
前項のグラフの特性をもう少し詳しく解析します。
トランジスタのベース〜エミッタ間電圧(VBE)とベース電流(IB)との関係は
IB = Is * {exp((q/kT)*VBE) − 1)}
と表されることから
IE = (hfe + 1) * IB =
(hfe + 1) * Is * {exp((q/kT)*VBE) − 1)}
∴ IE ≒ Io * exp((q/kT)*VBE) ・・・・・ (1)
ここで、Io = (hfe + 1) * Is
と定義し、また、exp{(q/kT)*VBE} >> 1
と近似しました。つぎに(1)式をVBEの式に変形します。
両辺をIoで割ってから自然対数をとると
ln(IE / Io) ≒ (q/kT)*VBE
∴ VBE ≒ (kT/q) * ln(IE / Io) ・・・・・ (2)
カレント・スイッチにおいてふたつのトランジスタの特性が完全にそろっていると仮定し
ベース〜エミッタ間電圧をそれぞれVBE1、VBE2、
エミッタ電流をそれぞれIE1、IE2として
VBE1とVBE2の差を考えます。(2)式を使って
VBE1 - VBE2 ≒ (kT/q) * ln(IE1 / Io)
- (kT/q) * ln(IE2 / Io)
= (kT/q) * {ln(IE1 / Io) - ln(IE2 / Io)}
= (kT/q) * ln{(IE1 / Io) / (IE2 / Io)}
= (kT/q) * ln(IE1 / IE2) ・・・・・ (3)
この式の両辺に(q/kT)をかけて、指数表現に戻します。
(q/kT) * (VBE1 - VBE2) ≒ ln(IE1 / IE2)
∴ IE1 / IE2 ≒ exp{(q/kT) * (VBE1 - VBE2)}
・・・・・ (4)
カレント・スイッチにおいてREが理想的な電流源であり、
その電流をIconstとすれば
IE2 = Iconst - IE1 ・・・・・ (5)
となるので、この式を(4)式に代入して変形していくと
IE1 / (Iconst - IE1) ≒
exp{(q/kT) * (VBE1 - VBE2)}
IE1 ≒ exp{(q/kT) * (VBE1 - VBE2)} *
(Iconst - IE1)
IE1 ≒ exp{(q/kT) * (VBE1 - VBE2)} * Iconst -
exp{(q/kT) * (VBE1 - VBE2)} * IE1
IE1 + exp{(q/kT) * (VBE1 - VBE2)} * IE1 ≒
exp{(q/kT) * (VBE1 - VBE2)} * Iconst
IE1 * [1 + exp{(q/kT) * (VBE1 - VBE2)}] ≒
exp{(q/kT) * (VBE1 - VBE2)} * Iconst
両辺をexp{(q/kT) * (VBE1 - VBE2)}で割ります。
IE1 * [exp{−(q/kT) * (VBE1 - VBE2)} + 1] ≒
Iconst
∴ IE1 ≒ Iconst /
[exp{−(q/kT) * (VBE1 - VBE2)} + 1] ・・・・・ (6)
この式を使い、IE1 ≒ IC1、IE2 ≒ IC2と近似し、また
VBE1 - VBE2 = Vb1 - Vb2
が成り立つことから(6)をグラフに書くと

となります。
例えば(6)式においてIconst = 2[mA]、Vb2 = 0[V]の条件で
Excelで計算してグラフを描いてみると下図のようになります。

(注)q/kT = 1/0.026として計算。
ちなみに、(6)でVBE1 = VBE2のときは
IE1 ≒ Iconst / 2
となります。また同時に(5)より
IE2 ≒ Iconst / 2
となるので、ふたつのトランジスタに同じ大きさの電流が流れます。
カレント・スイッチは入力電圧が参照電圧を横切っても、
すぐにON/OFFが切り替わる訳ではありません。
ふたつの入力電圧(vb1, vb2)の差が小さいと、
差動増幅回路として動作してしまうため、電圧差はある程度大きい必要があります。

どれくらい必要になるか(3)式を使って見積もります。
VBE1 - VBE2 ≒
(kT/q) * ln(IE1 / IE2) ・・・・・ (3)(再掲)
まず、VBE1 - VBE2 = vb1 - vb2なので
vb1 - vb2 ≒
(kT/q) * ln(IE1 / IE2) ・・・・・ (7)
次に、(7)において
q: 電子の電荷 (1.60×10-19 [C])
k: ボルツマン定数 (1.38×10-23 [J/K])
T: 絶対温度
であることから、T=300°Kのとき
kT/q ≒ 0.026
原理説明においては片方のトランジスタが遮断状態になるとしましたが、
Ic ≒ IE = 0とならなくても、ある程度小さくなったとき遮断状態と等価と見なせます。
そこで、IE1:IE2 = 1:9 として(7)を計算すると
|vb1 - vb2| ≒ |0.026 * ln(1/9)| ≒ 57.1[mV]
切り換わるための電圧幅はこの2倍なので約114[mV]です。
しかし、1:9ではまだ遮断状態とえ言えないのでいつくかの比率で
計算してみると下記の表になります。
| IE1:IE2
| 2 * |Vb1 - Vb2| [mV]
| 備考
|
| 1:9
| 114
|
|
| 1:99
| 239
|
|
| 1:999
| 359
|
|
| 1:9999
| 479
|
|
このようにみると、入力電圧は概ね参照電圧を中心に少なくとも0.3〜0.4[V]の変化幅が
必要であることが判ります。また、入力電圧が変化する速度が遅いと、差動増幅として
動作する領域を通過する時間が長くなり、出力電圧の変化速度も遅くなることになります。
入力電圧(Vb)と出力電圧(Vc)との関係
入力電圧が参照電圧より低いとき、トランジスタは遮断状態(OFF)になるので
出力電圧は上昇しHighレベルになり、そのときの電圧はVccと等しくなります。
ので、VcのHighレベルとVccは同じにする必要があります。
次に、入力電圧が上昇しベース電圧が上昇し参照電圧を超えると、出力電圧
すなわちコレクタの電圧が低下します。このとき、もしコレクタ電圧がベース電圧
より低くなると、トランジスタが飽和してしまいますので、
入力電圧の最大値(Vbmax) < 出力電圧のLowレベル
の関係が成り立つ必要があります。すなわち、
Vbmax < Vcc - Ic * Rc
の関係が成り立つようにIcとRcを決めます。
(飽和しても一応動作はします。)

また、入力電圧の振幅が小さいと回路が単なる差動増幅回路として動作して
しまうため、peak to peakで少なくとも約0.5[V]以上の振幅が必要です。
(前項、切換えのための電圧幅を参照)
逆に入力電圧が大きすぎる場合も問題となります。
差動増幅回路ではvb1とvb2の電圧の差が大きくなると
トランジスタのベース〜エミッタ間の最大定格を超えてしまうことにより
トランジスタを破損してしまう危険があります。
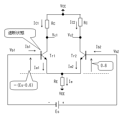
例えば下図のようにvb1とvb2との間に差動入力として
Esをかけた場合を考えます。そうするとTr1は遮断状態になり
コレクタ電流は流れません。Tr2は能動状態のためベース〜エミッタ間
電圧(VBE)は約0.6[V]です。そうすると、Tr1の
ベース〜エミッタ間に(Es - 0.6)[V]の逆方向電圧がかかります。
例えば2SC1815の場合、逆方向最大電圧(VEBO)は5[V]です。
つまり(Es - 0.6) > VEBOとなったとき最大定格を超えてしまいます。

今後の課題
蓄積時間について考察する。
参考文献
- パルス回路の設計(昭和56年(1981) 第20版(改訂10版)) P-72〜76 カレント・スイッチ、猪飼國夫著、
CQ出版社
- ディジタル回路(1988 第1版) P-89〜92 電流切換形回路、川又晃著、オーム社
- はじめてのトランジスタ回路設計(1999 初版) P113-118 3石で組むOPアンプ、黒田徹著、CQ出版社
- 2SC1815データシート
関連項目
- トランジスタ増幅回路の解析−
差動増幅回路の解析
- 電子回路−
トランジスタのhパラメータ(hie)
JH8CHUのホームページ>
トランジスタ・パルス回路の解析>
カレント・スイッチの解析
Copyright (C)2025 Masahiro.Matsuda(JH8CHU), all rights reserved.